[첨단 헬로티]
절단 및 홈절삭 가공, 소직경 보링 가공 등은 보통의 선반 작업과는 다르다. 절단 및 홈절삭의 경우 공간 제약, 칩 처리 등이 문제다. 소직경 보링 가공은 구멍 깊이에 따른 채터링 발생이 문제다. 가공하기에 앞서 문제점과 해결책을 알아두면 효율적인 가공을 할 수 있을 것이다.

이번 호에는 절단 및 홈절삭 가공, 소직경 보링 가공의 문제점과 해결책에 대해 살펴본다.
1. 절단, 홈절삭의 포인트
절단 가공은 공작물을 축에 대하여 직각 방향으로 절단하는 가공으로 환봉 부품, 파이프 부품, 육각형상 부품 들을 절단하는 작업이다.
또 홈절삭 가공은 공작물에 각종 용도에 맞는 홈 형상을 가공하는 작업으로 외경 홈절삭 가공, 내경 홈절삭 가공, 단면 홈절삭 가공 등이 있다.
절단, 홈절삭 가공의 문제점
절단, 홈절삭 가공이 일반적인 선반 작업과 다른 점은 바이트가 절삭해 가는 좁은 공간에서 홀더 강성, 강고한 팁 클램프, 원활한 칩 배출을 확보해야 하는 점이다. 이 때문에 다음과 같은 문제점이 발생하기 쉽다.
① 절삭 가공 중에 채터링이 발생하기 쉬워 고능률 가공이 어렵다.
② 깊은 홈 가공 또는 지름이 큰 공작물을 절단 가공할 때 칩이 막히기 쉬워 바이트가 부러지기 쉽다.
③ 칩이 공작물이나 척에 얽히는 등 칩 처리가 나쁘기 때문에 NC 선반 등에 의한 자동화가 어렵다. 따라서 절단, 홈절삭 가공은 바이트의 선정을 신중히 하고 작업의 요점을 확실히 파악해 둘 필요가 있다. 아래에 절단, 홈절삭 바이트의 종류와 특히 문제가 생기기 쉬운 절단 작업의 요점, 가공의 실례를 소개한다.
절단, 홈절삭 바이트의 종류
1) 솔리드 바이트 : 날 부분과 섕크 또는 바디가 일체인 재료로 되어 있는 바이트로 보통 ‘판 바이트’, ‘스틱 바이트’라고 부른다. 공구 재질로는 고속도 공구강이 일반적으로 사용되고 있으며 JIS B 4151에 규정되어 있는 표준적인 판 바이트는 <표1>과 같이 되어 있다.

▲ 표 1 판 바이트의 형상 치수 (JIS B 4151)
2) 납땜 바이트 : 고속도 공구강 또는 초경 합금을 납땜한 바이트이다. 표준적인 형상 치수를 <표2> (JIS B 4152)에 표시했다.

▲ 표 2 절단 바이트(31형)의 형상 치수 (JIS B 4152)
3) 클램프 바이트 : 팁 또는 블레이드를 기계적으로 고정한 바이트로 이것은 <그림1>에 표시한 구조의 것이 많이 쓰이고 있다.

▲ 그림 1 각종 클램프 바이트
(a)는 3코너 팁을 쓸 수 있어서 경제적이므로 홈절삭 가공의 주류로 되어 있다. 팁의 재질도 초경 팁에 더하여 내마모성, 내용착성이 우수한 서멧이 많이 쓰이고 있다. (b)는 비교적 홈 폭이 크고 깊은 홈 가공에 사용된다. (a), (b)는 홈절삭 가공용으로 주로 쓰이며 같은 클램프 형식의 내경 홈절삭 가공용 바이트, 단면 홈절삭 가공용의 바이트도 많이 나오고 있다. (c)는 초경 블레이드 클램프 방식으로 초경 블레이드는 재연삭하여 사용된다. 또 (d)는 팁의 클램프가 홀더의 쐐기 힘에 의하여 이루어지며, 클램프 강도, 칩 처리, 최대 절단 지름, 코팅 재종의 사용 등 여러 가지 이점이 있기 때문에 널리 쓰이고 있는 것이다. 이 (d) 타입의 바이트는 홀더 강성을 향상시키기 위하여 홀더를 초경제로 만든다.
절단 작업의 포인트
절단 가공에서는 우선 채터링이 문제가 된다. 가공 시에 발생되는 채터링을 줄이기 위하여 바이트는 될 수 있는 대로 강성이 높은 것을 사용하고 공구대에서 바이트 돌출량을 가능한 한 작게 하는 것이 가장 중요하다. 그리고 가공물은 가공 중에 휘거나 움직이지 않도록 척에 단단히 고정한다. 또 척에서의 돌출 길이도 최소로 되도록 한다. 지름이 큰 공작물로 중량이 있는 것을 가공할 때는 절단되는 공작물에 의하여 바이트가 파손되는 경우가 있다. 이것을 방지하려면 공작물을 완전히 절단하기 전에 가공을 정지하고 손작업 또는 쇠톱으로 절단하면 좋다. 공작기계에 대해서는 당연하지만 강성이 높은 것을 사용한다. 또 유압 이송인 것은 절삭이 안정적이기 못하므로 피하는 편이 좋다.
이와 같은 기본적인 조건이 갖추어지면 다음은 가공 상의 포인트를 알아보자.
우선 바이트의 날 끝 높이를 공작물의 중심에 맞춘다. 다만 절삭 중에 채터링이 발생하기 쉬울 때나 바이트의 돌출량이 커서 휘기 쉬울 때는 날 끝 높이를 조금 높게 설정한다. 그리고 바이트의 고정은 공작물에 대하여 직각이 되게 한다. 직각도가 바르지 않으면 바이트의 직진성이 나빠지므로 가공면에 구부러짐이 생기게 됨과 동시에 다듬질면도 악화된다.
솔리드 환봉은 공작물 절삭 남김이 생기지 않도록 또 파이프재에서는 버(Burr)가 생기지 않도록 하기 위하여 <그림2>와 같이 각도가 있는 바이트를 사용하면 효과가 있다. 다만 이와 같은 바이트를 쓰면 홀더의 직진성이 나빠지므로 이송을 낮출 필요가 있다. 또 칩의 처리성도 나빠지는 것을 고려하여 사용해야 한다.

▲ 그림 2 ▲ 그림 3
칩 처리성(배출성)을 좋게 하려면 <그림3>과 같은 칩을 홈 폭보다 좁게 하여 태엽 모양으로 처리할 수 있는 3차원 칩 브레이커가 붙은 바이트를 사용하면 좋다. 특히 지름이 큰 공작물 절단에는 효과적이다. 또 이송을 스텝 이송으로 하여 칩을 절단하는 방법도 많이 쓰이고 있다.
절삭 조건은 일반강을 가공할 경우 고속도 공구강 바이트로 15~30m/min, 초경 바이트로 30~100m/min, 코팅 팁 붙이 바이트로 80~150m/min로 이송량을 증가시킴에 따라 저절삭 속도를 택한다. 이송량은 0.05~0.3㎜/rev 정도이다. 절삭 중에 채터링이 발생할 때에는 이송을 크게 하고 절삭 속도를 낮추는 것으로 대처한다. 또 날 끝에 치핑이 생길 때에는 공작물을 깎기 시작할 때와 잘라 떨어뜨릴 때의 이송을 작게 한다.
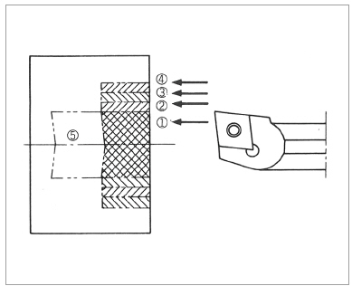
끝으로 주철 이외의 공작물에 대해서는 절삭유를 충분히 공급하여 날 끝에 충분히 미치도록 한다. <그림4>는 홈절삭 가공, <그림5>는 절단 가공의 실례를 나타낸 것이다. 어느 경우나 일반적인 가공 방법이다.'

▲ 그림 4 홈절삭 가공

▲ 그림 5 절단 가공
2. 소직경 보링 가공의 포인트
선반에 의한 보링 가공은 외경이나 단면 가공에 비해 여러 가지 문제점이 있다. 예를 들어보자.
① 공작물의 보링 구멍의 깊이가 깊을수록 홀더의 돌출량도 길어져 섕크 지름에 대한 돌출량이 일정값을 넘을 때에는 채터링이 발생한다.
② 가공 중 연속으로 발생되는 칩은 공작물의 내부에 머물고 다시 공작물의 회전에 의한 원심력으로 내벽에 달라붙어 그 결과 팁이 칩을 물어 치핑이 생기거나 절삭면을 긁어 흠집을 낸다.
③ 소내경 가공용의 절삭공구는 홀더 섕크 지름과 팁이 너무 작아져 기구적으로 스로어웨이(Throw-away)화가 어렵다. 이 이유로 납땜 바이트가 많이 쓰이는데, 이는 능률, 안정 수명의 향상면에서 장애로 되고 있다.
채터링 대책
보링 가공에서는 채터링 대책이 특히 중요하며 종래부터 다음과 같은 대책이 강구되고 있다.
① 날 끝의 중심 높이를 재조정한다(보통 공작물의 센터보다 조금 낮게 하는 것이 효과적).
② 절삭 속도(주축의 회전 수)를 내린다.
③ 사용 팁의 노즈 반지름을 일단 작은 것으로 바꾼다.
④ 홀더의 돌출량을 될 수 있는 대로 짧게 한다.
⑤ 칩 브레이커를 경사각이 큰 연마 부가형 브레이커로 바꾼다.
⑥ 섕크 바의 재질을 강 섕크 바에서 초경 섕크 바로 바꾼다.
이상이 대표적인 채터링 대책인데 모든 조건에 완벽한 것은 없다. 예를 들어 절삭 속도를 내리면 채터링은 멈추기 쉬우나 너무 내리면 가공 시간이 길어져 비실용적이 된다. 또 노즈 반지름을 작게 하면 다듬질면 거칠기가 열화되는데 다듬질면 거칠기를 향상시키려고 이송을 낮추면 역시 가공 시간이 늘어나다.
홀더의 돌출량을 짧게 하는 것은 공작물의 형상에 의하여 이미 한계가 있고, 절삭날의 연마 부가형 브레이커를 바꾸는 것은 칩 처리성을 희생시키는 경우가 흔히 있다. 한편 초경 섕크 바를 사용하면 가공 조건은 같아도 채터링이 방지되므로 유효한 수단이라 할 수 있다. 다만 초경 섕크 바는 강으로 된 팁 고정부와 초경 섕크를 납땜하고 있으므로 중(重) 절삭 조건에서 발생열과 절삭 저항에 의하여 납땜부에서 팁 고정부가 떨어지는 경우가 있으므로 절삭 깊이량이 적은 다듬질 절삭 중심의 공구라 할 수 있다. 또 초경 섕크 바는 강섕크 바에 비해 값이 비싼 것도 문제다. 물론 현재 초경에 가까운 성능을 갖는 보링 공구가 나와 있다. 이것은 액설런트 바라고 불리는데 종래의 강섕크와 마찬가지로 납땜 부위가 없는 일체형으로 스로어웨이 팁용의 섕크 바이다. 이 때문에 황삭에도 문제 없이 견디고 가격도 강섕크 바와 같은 정도다.
절삭 속도 V = 70m/min, 절삭 깊이 d = 0.5㎜, 이송 f = 0.1㎜/rev인 절삭 조건에서 SCM435를 가공했을 때 L/D, 즉 섕크 지름에 대한 돌출량의 비는 강섕크 바 지름의 4배, 초경 섕크 바에서는 일반적인 지름의 7~8배의 돌출량까지 가능한데, 그 이상이 되면 채터링이 발생한다.
한편 액설런트 바의 돌출량은 강섕크 바의 1.5배가 가능하다.
보링 가공의 칩 처리
칩 처리 대책에는 우선 칩 브레이커 형상의 선정이 있다. 칩 브레이커에는 연마 부가형 브레이커에서 3차원적인 요철을 부가한 형압형 브레이커까지 여러 가지가 있다. 일반적으로 연마 부가형 브레이커는 절삭 저항이 적은 반면 칩 처리 성능이 떨어진다. 형압형 브레이커는 칩이 걸리지 않도록 효과적인 오목부가 배열되어 있어서 칩의 처리 성능은 우수하나 반면에 실제 경사각이 작아져 다소 절삭 저항이 증가되는 경향이 있다.
보링 깊이가 얕으면 연속 컬(Curl)로 되는 칩을 배출해도 문제가 안되나 깊은 구멍일 때는 칩이 분단되어 있는 편이 트러블이 적다. 특히 막힌 구멍의 보링은 칩이 충분히 절단되어 나오도록 하는 것이 포인트다. 또 절단된 칩도 원심력으로 구멍 내벽에 달라붙기 쉽고 그것을 절삭날이 물면 치핑을 일으키는 경우가 있다. 이 트러블을 막으려면 충분한 절삭유를 뿌려서 칩을 구멍 밖으로 배출하는 것이 효과적이다. 한편 공작물이 연하고 끈적거리는 재료에서는 절단된 칩이 절삭면을 긁어 흠집을 내기 쉽다. 이런 경우에는 칩은 절단되는 않고 연속 컬링된 상태로 원활하게 배출시킬 수 있는 칩 브레이커 형상과 절삭 조건을 선정해야 한다.
소내경 공구의 스로어웨이화
여기에서는 ø10㎜ 이하의 소내경의 보링을 염두에 두고 이야기를 진행한다. ø10㎜ 이하의 소내경 보링 공구의 스로어웨이화는 가느다란 섕크의 끝부분에 팁을 고정시키는 기능을 마련해야 하므로 여러 가지 제약이 많아 한계가 있다.
<그림6>의 (a)는 강섕크 바의 일체형, (b)가 초경 섕크 바의 돌출 가변형이다. 팁은 소내경의 보링 가공에 대응하기 위하여 삼각형 팁의 변을 일부 컷한 변형 육각형을 쓰고, 날 끝 각도는 강도 향상을 지향한 80° 규격으로 되어 있다.

▲ 그림 6 스로어웨이식 소직경 보링 바이트(ø6㎜ 이상)
팁 재료 종류에는 서멧, 코팅 초경, 초경이 있고 칩 브레이커 형상은 절삭성과 칩 처리성의 어느 쪽에도 대응될 수 있도록 연마 부가형과 형압형의 두 가지가 있다. 권장 절삭 조건은 절삭 속도 V = 40~120m/min, 이송 f = 0.06㎜/rev 이하(최대 1㎜/rev), 절삭 깊이 d = 0.5㎜ 이하(최대 1㎜)이다.
스로어웨이 방식은 작은 부품 가공에도 활용된다. 작은 부품 가공에 대응하는 극소 지름의 보링용 스로어웨이 공구(팁 바)의 최소 지름은 ø2㎜부터이다. 이 이유로 바 형상 자체가 팁 본체이고 이 팁을 전용 슬리브 또는 시판되고 있는 콜릿 척에 고정하여 사용한다.
공구 재종으로는 강인 서멧(TC60M), 초경 K10이 준비되어 있다. 권장 절삭 조건은 <그림7>과 같다. 팁 재종의 사용 분류는 일반강 및 스테인리스강의 가공에서 절삭 속도가 V = 50m/min 이상일 때는 서멧(TC60M)을, V = 50m/min 이하일 때나 비철금속의 절삭에는 초경 K10을 사용한다.

▲ 그림 7 팁 바의 권장 절삭 조건
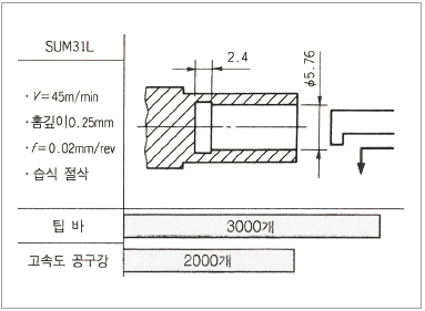
<그림8>은 팁 바에 의한 내경 ø4.4㎜의 보링 가공의 예로 피삭재는 유황 쾌삭강 SUM24L이다.

▲ 그림 8 팁 바에 의한 ø4.4㎜ 보링 가공의 예
기존에는 고속도 공구강 바이트를 수동 연삭하여 사용하고 있었다. 팁 바는 절삭 속도를 2배로 올려서 가공 시간이 짧아진 것 외에 고속도 공구강 바이트의 수동 연마에서는 수명의 편차가 컸었는데 반해, 추가 가공이 필요 없는 안정 상태에서 1,800개/코너의 수명이 되고 있다.
이 팁 바에는 보링뿐만 아니라 내경 홈절삭용의 홈절삭 팁 바도 있다. 이 홈절삭용은 최소 구멍 지름이 ø5㎜로 2코너 사용하며 브레이커가 표준 장비된 저절삭 저항의 공구다.
<그림9>는 홈절삭 팁 바에 의한 내경 ø5.76㎜의 구멍에 폭 2.4㎜인 홈절삭 가공의 예로 피삭재는 유황 쾌삭강 SIM31L이다. 이 가공에서도 기존에는 고속도 공구가 바이트를 수동 연마한 다음 추가 연삭하여 사용하고 있었다. 수동 연마 바이트를 만드는 데는 30분이 필요하고 경험도 요구되는 작업이다. 누구나 할 수 있는 일은 아니다. 이 문제도 홈절삭 팁 바를 사용하면 해결할 수 있고 공구 수명도 고속도 공구강에 비해 50%나 향상시킬 수 있다.

▲ 그림 9 팁 바에 의한 소내경 홈절삭 가공의 예
이 예와 같이 극소 내경 가공용 공구의 스로어웨이화를 통해 연삭 시간 절감, 수명 편차 향상, 가공 시간 단축, 가공 정밀도 향상 등을 실현할 수 있다.
기타의 내경 가공
1) 동심도내기 가공 : <그림10>과 같은 외경과 내경의 동심도가 필요한 공작물이라면 원 처킹으로 외경, 내경을 선삭해야 한다. 이 때 내경부 깊은 곳의 가공이 문제가 되는데, 내경끌기 가공용 보링 공구를 써 이를 해결한다.

▲ 그림 10 내경끌기 가공용 공구와 동심도 내기 가공의 예
2) 공구 개수의 제한 : NC 선반에서 고정 공구 개수의 제약으로 드릴을 고정할 수 없을 때 <그림11>과 같은 가공법을 쓰면 가능하다. 이 공구는 본래 내경 가공용의 공구인데 섕크 중심부까지 절삭날이 있어서 드릴링도 가능한 공구다. 그리고 그대로 터릿 선회하는 일 없이 보링 가공을 할 수 있는 드릴링 바이다.

▲ 그림 11 드릴링 바에 의한 구멍뚫기와 보링 가공의 예
드릴링 깊이는 칩의 배출 문제로 칩 포켓의 길이까지인데 깊은 구멍 보링 가공일 때는 입구측을 내경 가공으로 넓혀 칩 배출 공간을 만들어 주고 거기서부터 다시 드릴링을 하여 내경 가공하면 결과적으로 깊은 구멍 보링 가공을 할 수 있다.
3) 관통 구멍의 양단면 모떼기 가공 : <그림12>와 같은 공구를 쓰면 관통 구멍의 보링 가공을 하면서 양단의 모떼기 가공을 하는 데 효과적이다. 또 이 공구는 노즈 반지름이 작은 팁을 붙이면 60° 산형의 내경 나사 절삭을 할 수 있다.

▲ 그림 12 관통 구멍의 양단면 모떼기 가공의 예

원문 | 도서출판 성안당 [선삭 가공의 모든 것]
정리 | 조상록 기자 (mandt@hellot.mediaon.co.kr)





